Miele KMDA 7473 FL-A Silence - Instrukcje

Miele KMDA 7473 FL-A Silence – Instrukcja obsługi w formacie PDF online.
Instrukcje:
Instrukcja obsługi Miele KMDA 7473 FL-A Silence




















































































































Podsumowanie
Spis treści 2 Wskazówki bezpieczeństwa i ostrzeżenia ...................................................... 5 Ochrona środowiska naturalnego ................................................................... 19 Przegląd ..................................................................................
Spis treści 4 Wymiary montażowe – zabudowa przylegająca ................................................. 84 KMDA 7473 FR-A, KMDA 7473 FR-U ............................................................ 84KMDA 7473 FL-A, KMDA 7473 FL-U.............................................................. 85Tr...
Wskazówki bezpieczeństwa i ostrzeżenia 5 Ta płyta grzejna spełnia wymagania obowiązujących przepisówbezpieczeństwa. Nieprawidłowe użytkowanie może jednak dopro-wadzić do wyrządzenia szkód osobowych i rzeczowych. Przed uruchomieniem urządzenia należy uważnie przeczytać in-strukcję użytkowania i monta...
Wskazówki bezpieczeństwa i ostrzeżenia 6 Użytkowanie zgodne z przeznaczeniem Ta płyta grzejna jest przeznaczona do stosowania w gospodar- stwie domowym i w otoczeniu domowym. Ta płyta grzejna nie jest przeznaczona do stosowania na zewnątrz pomieszczeń. Stosować płytę grzejną wyłącznie w warunk...
Wskazówki bezpieczeństwa i ostrzeżenia 7 Dzieci w gospodarstwie domowym Dzieci poniżej 8 roku życia należy trzymać z daleka od płyty grzej- nej, chyba że są pod stałym nadzorem. Dzieciom powyżej 8 roku życia wolno używać urządzenia bez nad- zoru tylko wtedy, gdy jego obsługa została im objaśnion...
Wskazówki bezpieczeństwa i ostrzeżenia 8 Bezpieczeństwo techniczne Nieprawidłowo przeprowadzone prace instalacyjne i konserwacyj- ne lub naprawy mogą się stać przyczyną poważnych zagrożeń dlaużytkownika. Prace instalacyjne i konserwacyjne oraz naprawy mogąbyć przeprowadzane wyłącznie przez fachowc...
Wskazówki bezpieczeństwa i ostrzeżenia 10 Przy pracach instalacyjnych i konserwacyjnych oraz naprawach urządzenie musi zostać odłączone od sieci elektrycznej. Płyta grzej-na jest odłączona od sieci elektrycznej tylko wtedy, gdy: - bezpieczniki instalacji elektrycznej są wyłączone, - bezpieczniki t...
Wskazówki bezpieczeństwa i ostrzeżenia 11 Jednoczesne działanie z paleniskiem pobierającym powietrze z pomieszcze-nia Niebezpieczeństwo zatrucia przez gazy spalinowe! Przy jednoczesnym użytkowaniu wyciągu kuchennego i paleniskapobierającego powietrze z pomieszczenia należy zachować naj-wyższą ostr...
Wskazówki bezpieczeństwa i ostrzeżenia 13 Prawidłowe użytkowanie Płyta grzejna nagrzewa się podczas pracy i pozostaje gorąca jesz- cze przez jakiś czas po wyłączeniu. Dopiero po zgaśnięciu wskazańciepła resztkowego nie ma więcej niebezpieczeństwa odniesieniaoparzeń. Oleje i tłuszcze mogą się zap...
Wskazówki bezpieczeństwa i ostrzeżenia 17 Nie stawiać żadnych gorących naczyń na kratce wyciągu. Działa- nie wyciągu zostanie przez to zakłócone, a kratka może ulec uszko-dzeniu. Wnikające płyny mogą doprowadzić do uszkodzenia wyciągu. Trzymać płyny z daleka od wyciągu. Lekkie przedmioty mogą ...
Wskazówki bezpieczeństwa i ostrzeżenia 18 Czyszczenie i konserwacja Para z myjki parowej może się dostać na elementy przewodzące prąd elektryczny i spowodować zwarcie. Nigdy nie stosować myjki parowej do czyszczenia urządzenia. Jeśli płyta grzejna jest zabudowana nad piekarnikiem z pirolizą, nie...
Ochrona środowiska naturalnego 19 Utylizacja opakowania Opakowanie służy do manewrowaniai chroni urządzenie przed uszkodzenia-mi podczas transportu. Materiały opa-kowaniowe zostały specjalnie dobranepod kątem ochrony środowiska i techni-ki utylizacji i generalnie nadają się doponownego wykorzystania...
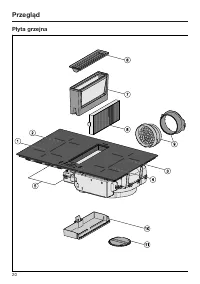
Przegląd 22 Elementy obsługi i wskazań f d c a b m n o l j k i h g e a Przycisk dotykowy wł./wył. płyty grzejnej b Przycisk dotykowy stref grzejnych FlexDo ręcznego łączenia/rozłączania stref grzejnych Flex c Przycisk dotykowy utrzymywania ciepłaDo aktywacji/dezaktywacji funkcji utrzymywania ciepła ...
Przegląd 24 Dane stref grzejnych Strefa grzejna Wielkość w cm Moc maks. w W przy 230 V 3 Powiązana strefa grzej- na 4 Ø 1 2 11–21 21x21 normalnieBooster 21003000 11–21 21x21 normalnieBooster 21003000 11–21 21x21 normalnieBooster 21003000 11–21 21x21 normalnieBooster 21003000 + ...
Przegląd 25 Wyposażenie dostarczonewraz z urządzeniem W razie potrzeby można zamówić za-równo wyposażenie dostarczone, jaki inne elementy wyposażenia (patrz roz-dział „Wyposażenie dodatkowe“). Szablon wiercenia Obustronnie zadrukowany szablon dowykonania wycięcia na kanał powietrzalub adapter Plug&a...
Pierwsze uruchomienie 26 Tabliczkę znamionową, znajdującą sięw dokumentacji urządzenia, należynakleić w przewidzianym do tegomiejscu w rozdziale „Serwis“. Usunąć ewentualną folię ochronnąi naklejki. Pierwsze czyszczenie płytygrzejnej Przed pierwszym użyciem należyprzetrzeć płytę grzejną wilgot...
Pierwsze uruchomienie 27 Miele@home Warunek wstępny: domowa sieć WiFi Państwa płyta grzejna jest wyposażonaw zintegrowany moduł WiFi. Płyta grzej-na może zostać połączona z domowąsiecią WiFi. Proszę się upewnić, że w miejscu in-stalacji płyty grzejnej dostępna jestlokalna sieć WiFi o wystarczającejm...
Pierwsze uruchomienie 28 Konfiguracja Miele@home Łączenie przez aplikację Połączenie sieciowe można utworzyć zapomocą aplikacji Miele. Do zalogowania będą potrzebne: 1. Hasło sieci WiFi. 2. Hasło płyty grzejnej. W przypadku hasła płyty grzejnej chodzio 9 ostatnich cyfr numeru fabrycznego,który znajd...
Pierwsze uruchomienie 29 Przerywanie procesu Nacisnąć przycisk dotykowy . Resetowanie ustawień W przypadku wymiany routera reseto-wanie nie jest konieczne. Włączyć płytę grzejną. Nacisnąć dowolne wskazanie strefygrzejnej. Naciskać równocześnie przyciski do-tykowe 0 i 9 przez 6 sekund. Sek...
Sposób działania 30 Strefy grzejne Pod każdą indukcyjną strefą grzejnąznajduje się cewka indukcyjna. Ta cew-ka wytwarza pole magnetyczne, któreoddziałuje bezpośrednio na dno naczy-nia i je rozgrzewa. Strefa grzejna pod-grzewa się jedynie pośrednio od ciepłaoddawanego przez dno naczynia. Indukcja dzi...
Sposób działania 31 Zarządzanie energią Płyta grzejna dysponuje maksymalnąmocą całkowitą, która ze względówbezpieczeństwa nie może zostać prze-kroczona. Maksymalną moc całkowitąmożna zredukować, patrz rozdział „Pro-gramowanie“. Strefy grzejne na płycie grzejnej mogąbyć ze sobą powiązane parami. Dzię...
Sposób działania 32 Odsysanie oparów Zasysane powietrze może być prowa-dzone bezpośrednio przez szafkę dolnąwyłącznie w trybie Plug&Play. Tryb otwartego obiegu powietrza Zassane powietrze jest oczyszczaneprzez filtr tłuszczu i odprowadzane nazewnątrz budynku kanałem odprowa-dzającym. Niezbędne a...
Naczynia do gotowania 33 Odpowiednie naczynia do go-towania - ze stali szlachetnej z dnem magnesu- jącym - ze stali emaliowanej - z żeliwa Wykonanie dna naczynia do gotowaniamoże wpływać na równomierność uzy-skanych efektów gotowania (np. przyprzyrumienianiu naleśników). Dno na-czynia powinno równom...
Naczynia do gotowania 34 Wskazówki - Dla optymalnego wykorzystania stre- fy grzejnej należy wybrać naczynie dogotowania o pasującej średnicy dna(patrz rozdział „Przegląd“, punkt „Da-ne stref grzejnych“). Gdy garnek jestza mały, nie zostanie on rozpoznany. - Umieścić naczynie do gotowania możliwie po...
Wskazówki dotyczące oszczędzania energii 35 - W miarę możliwości należy gotować w garnkach i patelniach pod przykry-ciem. W ten sposób unika się niepo-trzebnego ulatniania ciepła. - Gotować z niewielką ilością wody. - Po zagotowaniu lub obsmażaniu przełączyć w odpowiednim momen-cie z powrotem na niż...
Zakresy ustawień 36 Płyta grzejna ma fabrycznie zaprogramowane 9 poziomów mocy. Gdy życzą sobiePaństwo dokładniejszych ustawień, można rozszerzyć zakres ustawień do 17 po-ziomów mocy (patrz rozdział „Programowanie“). Zakres ustawień fabryczny (9 poziomów) rozszerzony (17 pozio- mów) Topienie masłaTo...
Obsługa 37 Zasady obsługi Państwa szklano-ceramiczna płytagrzejna jest wyposażona w elektronicz-ne przyciski dotykowe, które reagują nadotyk palca. Ze względów bezpieczeń-stwa przycisk dotykowy wł./wył. przy włączaniu musi być naciskany niecodłużej niż pozostałe przyciski.Każda reakcja przycisków...
Obsługa 38 Zagrożenie pożarowe przez prze- grzaną potrawę.Nienadzorowana potrawa może sięprzegrzać i zapalić.Nie zostawiać urządzenia w czasiepracy bez nadzoru. Proszę pamiętać, że czas nagrzewa-nia płyt indukcyjnych jest o wielekrótszy, niż w przypadku tradycyj-nych płyt grzejnych. Włączanie płyt...
Obsługa 39 Wskazanie ciepła resztkowego Gdy strefa grzejna jest gorąca, po wyłą-czeniu zapala się wskazanie ciepłaresztkowego. Segmenty wskazania ciepła resztkowe-go gasną po kolei wraz z postępującymstygnięciem stref grzejnych. Ostatnisegment gaśnie dopiero wtedy, gdymożna bez ryzyka dotknąć stref ...
Obsługa 40 Obszar grzejny Flex Strefy grzejne Flex zostaną automatycz-nie połączone w jeden obszar grzejnyFlex, gdy zostanie na nich ustawionewystarczająco duże naczynie do goto-wania (patrz rozdział „Przegląd“, punkt„Płyta grzejna“). Strefy grzejne Flexmożna także łączyć lub rozdzielać ręcz-nie: ...
Obsługa 41 Automatyka zagotowywania Przy uaktywnionej automatyce zagoto-wywania strefa grzejna rozgrzewa sięautomatycznie przy najwyższym pozio-mie mocy, a następnie przełącza się zpowrotem na ustawiony wcześniej do-celowy poziom mocy. Czas zagotowy-wania zależy od ustawionego poziomukontynuacji got...
Obsługa 42 Booster Funkcja Booster zwiększa moc, dziękiczemu szybciej mogą zostać podgrzaneduże ilości, np. wody do gotowania ma-karonu. To zwiększenie mocy jest ak-tywne przez maksymalnie 5 minut. Gdy funkcja Booster zostanie uaktyw-niona, mogą się zmienić ustawieniapowiązanej strefy grzejnej, patr...
Obsługa 43 Utrzymywanie ciepła Funkcja utrzymywania ciepła służy doutrzymywania w cieple gorących po-traw bezpośrednio po przyrządzeniu,a nie do ponownego podgrzewania jużostygniętych potraw. Maksymalny czas utrzymywania ciepławynosi 2 godziny. - Potrawy należy utrzymywać w cieple wyłącznie w naczyn...
Obsługa 44 Odsysanie oparów Wyciąg włącza się automatycznie, gdyna strefie grzejnej stoi naczynie do go-towania i dla tej strefy grzejnej zostanieustawiony jakiś poziom mocy (Con@cti-vity). Poziom wydajności wyciągu jestuzależniony od poziomu mocy strefgrzejnych. Od poziomu wydajności wy-ciągu zależ...
Obsługa 45 Ustawianie poziomu wydajności/Wy-łączanie odsysania oparów Nacisnąć wskazanie odsysania opa-rów. W celu ustawienia poziomu wydajno-ści nacisnąć odpowiedni przycisk do-tykowy. W celu wyłączenia nacisnąć przyciskdotykowy 0 . Jeśli odsysanie oparów nie zostaniewyłączone w trybie ręczn...
Zegar sterujący (Timer) 46 Płyta grzejna musi być włączona, żebymożna było korzystać z timera. Timer może zostać zastosowany dla2 funkcji: - do ustawiania czasu minutnika, - do automatycznego wyłączania strefy grzejnej. Można korzystać z tych funkcji jedno-cześnie. Istnieje możliwość ustawienia czas...
Funkcje dodatkowe 49 Stop&Go Przy aktywacji funkcji Stop&Go poziommocy wszystkich włączonych strefgrzejnych zostaje zredukowany na 1.Poziom wydajności wyciągu nie zostajezredukowany, może on nawet zostaćzwiększony w zależności od ustawio-nych poziomów mocy stref grzejnych.Nie można zmienić p...
Funkcje dodatkowe 50 Funkcja wycierania Przyciski dotykowe płyty grzejnej moż-na zablokować na 20 sekund, żebynp. usunąć zabrudzenia. Przycisk do-tykowy nie zostaje zablokowany. Aktywacja Nacisnąć przycisk dotykowy . Nacisnąć przycisk dotykowy . W polu wskazań timera jest odliczanyczas. ...
Zabezpieczenia 51 Blokada uruchomienia/Blokada Przerwa w zasilaniu powoduje dez-aktywację blokady. Państwa płyta grzejna została wyposa-żona w blokadę uruchomienia i bloka-dę, żeby nie można było w sposób nie-zamierzony włączyć płyty grzejnej, strefgrzejnych i odsysania oparów ani zmie-nić ustawień....
Zabezpieczenia 52 Wyłączenie ze względów bez-pieczeństwa Przyciski dotykowe są zakryte Państwa płyta grzejna wyłączy się auto-matycznie, gdy jeden lub kilka przycis-ków dotykowych pozostaje zakryte dłu-żej niż ok. 10 sekund, np. przez palec,wykipiałą potrawę lub odłożone przed-mioty. W polu wskazań ...
Zabezpieczenia 53 Zabezpieczenie przed prze-grzaniem Wszystkie cewki indukcyjne i obwodychłodzące elektronikę są wyposażonew zabezpieczenie przed przegrzaniem.Zanim dojdzie do przegrzania cewek in-dukcyjnych lub obwodów chłodzących,funkcja zabezpieczenia przed przegrza-niem podejmuje jedno z następu...
Programowanie 54 Programowanie płyty grzejnej możnadostosować do swoich osobistych pre-ferencji. Można zmodyfikować kilkaustawień po kolei. Po wywołaniu programowania zapalasię przycisk dotykowy + oraz w polu wskazań zegara sterującego. Po kilkusekundach w polu wskazań zegara ste-rującego miga ...
Informacje dla instytutów testowych 58 Potrawy testowe wg EN 60350-2 Fabrycznie zaprogramowane jest 9 poziomów mocy. Do testów zgodnie z normą należy włączyć rozszerzony zakres poziomów mocy(patrz rozdział „Programowanie“). Danie testowe dna naczynia do goto- wania (mm) Przy- kryw- ka Poziom mocy ...
Czyszczenie i konserwacja 60 Czyszczenie powierzchniszklano-ceramicznych Uwaga na uszkodzenia przez ostre przedmioty.Taśma uszczelniająca pomiędzy pły-tą grzejną i blatem roboczym możezostać uszkodzona.Taśma uszczelniająca pomiędzyszkłem ceramicznym i ramką możezostać uszkodzona.Nie stosować do cz...
Czyszczenie i konserwacja 62 Kratka maskująca/Filtr tłusz-czu/Filtr zapachów Kratka maskująca i metalowy filtr tłusz-czu wielokrotnego użytku w wyciąguwychwytują stałe składniki oparów ku-chennych (tłuszcz, kurz itp.), zapobie-gając w ten sposób zanieczyszczeniuwyciągu nablatowego. Zgromadzonytłuszc...
Czyszczenie i konserwacja 63 Czyszczenie filtra tłuszczu Wyjmowanie filtra tłuszczu Wyjąć kratkę maskującą. Wyjąć ostrożnie filtr tłuszczu za za-głębienia uchwytów (1). Uważać, że-by nie przechylić przy tym filtra tłusz-czu. Wylać płyn zebrany na dnie filtra. Zakładanie filtra tłuszczu Na czol...
Czyszczenie i konserwacja 64 Wymiana filtra zapachów (tylkoKMDA 7473 FR-U, KMDA 7473 FL-U) Po 120 godzinach pracy filtr zapachówmusi zostać wymieniony. Zapala sięprzycisk dotykowy . Oznaczenie filtra zapachów znajduje sięw rozdziale „Wyposażenie dodatkowe“. Wyjąć kratkę maskującą. Wyjąć filtr...
Czyszczenie i konserwacja 65 Czyszczenie wnętrza jednostkiwentylatora Wyczyścić wnętrze jednostki wentylato-ra, gdy rozchlapane lub wykipiałe płynydostaną się do wyciągu. Wyczyścić wanienkę ociekową wy-ciągu. Ustawić naczynie pod klapką doczyszczenia, żeby zebrać płyny. Obrócić klapkę do czysz...
Co robić, gdy... 66 Większość usterek i błędów, do których dochodzi podczas codziennego użytko-wania, można usunąć samodzielnie. W wielu przypadkach pozwoli to zaoszczędzićczas i koszty, ponieważ nie ma wówczas potrzeby wzywania serwisu. Poniższa tabela powinna być pomocna w ustaleniu przyczyn ewent...
Co robić, gdy... 68 Nieoczekiwane zachowania Problem Przyczyna i postępowanie Poziom mocy 9 zostajeautomatycznie zreduko-wany, gdy w przypadkupołączonej strefy grzej-nej zostanie równieżustawiony poziom mo-cy 9. Przy równoczesnej pracy na poziomie mocy 9 zostajeprzekroczona moc dostępna łącznie dla ...
Co robić, gdy... 69 Niezadowalające rezultaty Problem Przyczyna i postępowanie Przy włączonej automa-tyce zagotowywania za-wartość naczynia dogotowania nie dochodzido wrzenia. Podgrzewane są duże ilości produktów spożyw-czych. Zagotować przy najwyższym poziomie mocy,a następnie przełączyć ręcznie ...
Wyposażenie dodatkowe 71 Firma Miele oferuje bogaty asortymentwyposażenia dodatkowego dostosowa-nego do Państwa urządzenia, jak rów-nież środki do czyszczenia i pielęgnacji. Te produkty można łatwo zamówić wsklepie internetowym Miele. Można je również nabyć w serwisieMiele (patrz na końcu tej instru...
Instalacja *INSTALLATION* 72 Wskazówki bezpieczeństwa do zabudowy Uszkodzenia przez nieprawidłowy montaż. Płyta grzejna może zostać uszkodzona przez nieprawidłowy montaż.Montaż płyty grzejnej powinien być przeprowadzany wyłącznie przez wykwalifi-kowanego specjalistę. Niebezpieczeństwo porażenia ...
Instalacja *INSTALLATION* 73 Proszę zachować odstępy bezpieczeństwa podane na następnych stronach. Do ułożenia przewodu wylotowego można stosować wyłącznie ru- ry lub węże z materiałów niepalnych. Są one dostępne w handluspecjalistycznym lub w serwisie. Odprowadzane powietrze nie może być kier...
Instalacja *INSTALLATION* 74 Odstępy bezpieczeństwa Odstęp bezpieczeństwa nad płytągrzejną Pomiędzy płytą grzejną i umieszczonymnad nią wyciągiem kuchennym należyzachować odstęp bezpieczeństwaokreślony przez producenta wyciągu. Gdy nad płytą grzejną zainstalowane sąłatwo zapalne materiały (np. półka...
Instalacja *INSTALLATION* 75 Odstęp bezpieczeństwa z tyłu/po bo-kach Z założenia płyta grzejna powinna zo-stać zamontowana z dużą ilością miej-sca po prawej i lewej stronie. Z tyłu płyty grzejnej musi być zachowa-ny podany poniżej odstęp minimalny do wysokiej szafki stojącej lub ścianypomieszczen...
Instalacja *INSTALLATION* 76 Odstęp bezpieczeństwa do okładziny niszy Jeśli nisza jest okładzinowana, należy zachować odstęp minimalny pomiędzy wy-cięciem w blacie roboczym i okładziną, ponieważ wysokie temperatury mogą do-prowadzić do zmian materiału okładziny lub nawet jego zniszczenia. W przypadk...
Instalacja *INSTALLATION* 77 Możliwości działania Tryb otwartego obiegu powietrza Tryb kierowany zamkniętego obie- gu powietrza Tryb Plug&Play KMDA 7473 FR-A – – KMDA 7473 FR-U – KMDA 7473 FL-A – – KMDA 7473 FL-U – możliwe możliwe – wymagane dalsze wyposażenie – niemożliwe
Instalacja *INSTALLATION* 80 Wskazówki dotyczące zabudo-wy przylegającej Uszczelnienie pomiędzy płytą grzejnąi blatem roboczym Uszkodzenia przez nieprawidło- wy montaż.Płyta grzejna i blat roboczy mogą zo-stać ew. uszkodzone w razie ko-nieczności demontażu, jeśli płyta zo-stanie uszczelniona masą ...
Instalacja *INSTALLATION* 81 Blat roboczy z płytek ceramicznych Szczeliny i zakreskowany obszar pod powierzchnią przylegania płyty grzejnejmuszą być gładkie i równe, żeby płytagrzejna równomiernie przylegała, auszczelka pod krawędzią górnej częściurządzenia zapewniała uszczelnienie wstosunku do b...
Instalacja *INSTALLATION* 82 Minimalna wysokość cokołu Minimalna wysokość cokołu dlaKMDA 7473 FR-U, KMDA 7473 FL-Uwynosi: - w trybie kierowanym zamkniętego obiegu powietrza: 100 mm - w trybie Plug&Play: 25 mm Przekrój otworu wylotowego – tryb Plug&Play Przekrój otworu wylotowego musi wy-nosi...
Instalacja *INSTALLATION* 83 Współczynnik U Tryb Plug&Play jest możliwy w młodszych i odnowionych budynkach. Gdy sąsia-dująca ściana lub podłoga graniczą z gruntem lub z powietrzem zewnętrznym, mu-szą one wykazywać współczynnik przenikania ciepła (współczynnik U) o wartości:≤ 0,5 W/(m²K). Materi...
Instalacja *INSTALLATION* 84 Wymiary montażowe – zabudowa przylegająca Wszystkie wymiary podane są w mm. KMDA 7473 FR-A, KMDA 7473 FR-U a Przód b Wyjmowana wanienka ociekowa c Klapka do czyszczenia d Skrzynka przyłączeniowa z przewodem przyłączeniowymPrzewód przyłączeniowy L = 1440 mm
Instalacja *INSTALLATION* 85 KMDA 7473 FL-A, KMDA 7473 FL-U a Przód b Wyjmowana wanienka ociekowa c Klapka do czyszczenia d Skrzynka przyłączeniowa z przewodem przyłączeniowymPrzewód przyłączeniowy L = 1440 mm
Instalacja *INSTALLATION* 86 Tryb otwartego obiegu powietrzai tryb kierowany zamkniętego obiegupowietrza Głębokość blatu roboczego 600 mm KMDA 7473 FR-A, KMDA 7473 FR-U a Tylna ścianka korpusu musi byćzdejmowana do celów serwisowych.Do przeprowadzenia kanału wyloto-wego pomiędzy ścianką korpusu aprz...
Instalacja *INSTALLATION* 87 Głębokość blatu roboczego większaniż 600 mm KMDA 7473 FR-A, KMDA 7473 FR-U a Tylna ścianka korpusu musi byćzdejmowana do celów serwisowych.Do przeprowadzenia kanału wyloto-wego pomiędzy ścianką korpusu aprzylegającą ścianą pomieszczenialub przylegającym elementem me-blow...
Instalacja *INSTALLATION* 90 Podłączenie do zestyku okien-nego, jeśli potrzeba Przyłącze dla zestyku okiennego znajduje się pod napięciem!Szkody osobowe przez porażenieelektryczne.Odłączyć płytę grzejną od zasilaniaprzed podłączeniem systemu przełą-czającego.Przewód przyłączeniowy systemuprzełącza...
Instalacja *INSTALLATION* 91 Wymienić mostek na przewód przyłączeniowy systemu przełączają-cego. Zamknąć obudowę. Wkręcić z powrotem śrubę odciągukablowego. Podłączyć z powrotem wtyczkę.
Instalacja *INSTALLATION* 92 Zabudowa przylegająca Wykonać wycięcie w blacie robo-czym. Zachować wymagane odstępybezpieczeństwa (patrz rozdział „Insta-lacja“, punkt „Odstępy bezpieczeń-stwa“). Skrócić dostarczony szablon wierce-nia u góry na grubość blatu robocze-go. Wyrównać stronę 2 do góry na...
Instalacja *INSTALLATION* 93 Wskazówki dotyczące zabudo-wy – zabudowa zlicowana Wpasowana w blat płyta grzejna jestprzeznaczona wyłącznie do zabudowyw kamieniu naturalnym (granit, mar-mur), pełnym drewnie i blatach wykła-danych płytkami ceramicznymi. Płytygrzejne oznaczone w rozdziale „Insta-lacja“,...
Instalacja *INSTALLATION* 96 Wymiary montażowe – zabudowa zlicowana Wszystkie wymiary podane są w mm. KMDA 7473 FL-A, KMDA 7473 FL-U a Przód b Wyjmowana wanienka ociekowa c Klapka do czyszczenia d Skrzynka przyłączeniowa z przewodem przyłączeniowymPrzewód przyłączeniowy L = 1440 mm e Frezowanie stop...
Instalacja *INSTALLATION* 101 Zabudowa zlicowana Wykonać wycięcie w blacie robo-czym. Zachować wymagane odstępybezpieczeństwa (patrz rozdział „Insta-lacja“, punkt „Odstępy bezpieczeń-stwa“). Skrócić dostarczony szablon wierce-nia u góry na grubość blatu robocze-go. Wyrównać stronę 1 do góry naty...
Instalacja *INSTALLATION* 102 Wycięcie w ściance tylnej – bez szablonu wiercenia Preferowane jest skorzystanie z dołączonego szablonu wiercenia. Proszę korzy-stać z poniższej instrukcji tylko wtedy, gdy brak jest szablonu wiercenia. Zabudowa przylegająca Widok 2. strony szablonu wiercenia. Rysunek n...
Instalacja *INSTALLATION* 104 Przewód wylotowy Przy jednoczesnym działaniu wy- ciągu wraz z paleniskami pobierają-cymi powietrze z pomieszczenia mo-że występować niebezpieczeństwozatrucia!Proszę bezwzględnie przestrzegaćzaleceń zamieszczonych w rozdziale„Wskazówki bezpieczeństwai ostrzeżenia“.W ra...
Instalacja *INSTALLATION* 105 Podłączenie elektryczne Uszkodzenia przez nieprawidło- we podłączenie.Nieprawidłowo przeprowadzone pra-ce instalacyjne i konserwacyjne lubnaprawy mogą się stać przyczynąpoważnych zagrożeń dla użytkowni-ka.Firma Miele nie może zostać pocią-gnięta do odpowiedzialności z...
Instalacja *INSTALLATION* 106 Odłączanie od sieci Niebezpieczeństwo porażenia prądem.Przywrócenie zasilania podczas pracserwisowych i/lub konserwacyjnychmoże doprowadzić do porażenia prą-dem.Po rozłączeniu należy zabezpieczyćsieć przed ponownym włączeniem. Jeśli obwód elektryczny urządzenia mazost...
Instalacja *INSTALLATION* 107 Schemat przyłączeniowy Nie każda możliwość przyłączeniajest dopuszczalna w miejscu instala-cji.Przestrzegać przepisów obowiązują-cych w kraju instalacji i dodatkowychuwarunkowań lokalnego zakładuenergetycznego. L1 200-240 V~ 200-240 V~ 200-240 V~ a b c d e - L2 L3 N - L...
Serwis 108 Kontakt w przypadku wystąpienia usterki W razie wystąpienia usterek, których nie można usunąć samodzielnie, proszę po-wiadomić np. sprzedawcę Miele lub serwis Miele. Wizytę technika serwisowego Miele można zamówić online na stroniewww.miele.pl w zakładce Serwis. Dane kontaktowe serwisu Mi...
Karty produktów 109 Poniżej są dołączone karty produktów modeli opisywanych w tej instrukcji użytko-wania i montażu. Informacje dotyczące elektrycznych płyt grzejnych dla gospo-darstw domowych w odniesieniu do rozporządzenia Komisji (UE) nr 66/2014 MIELE Identyfikator modelu KMDA 7473 Liczba pól lub...
Deklaracja zgodności 111 Niniejszym Miele oświadcza, że taszklano-ceramiczna płyta grzejna z in-dukcją spełnia wymagania Dyrektywy2014/53/WE. Pełny tekst deklaracji zgodności WEjest dostępny pod jednym z poniższychadresów internetowych: - Produkty, Pobieranie, na stronie www.miele.pl - Serwis, Mater...
Other Miele Inne Manuals
-
Miele APWM 063 Instrukcja instalacji
-
Miele APWM 019 Instrukcja obsługi
-
Miele TT 86 Instrukcja obsługi
-
Miele UG 5010 Instrukcja instalacji
-
Miele UO 5010 Instrukcja instalacji
-
Miele E 473/2 Instrukcja obsługi
-
Miele FFK 01 Instrukcja instalacji
-
Miele APDR 002 Instrukcja obsługi
-
Miele DP [50Hz] Instrukcja instalacji
-
Miele APCL 005 Instrukcja instalacji
-
Miele PG 8583 CD [WW AD CM] Instrukcja obsługi
-
Miele PG 8583 CD [WW AD CM] Instrukcja instalacji
-
Miele PG 8583 [WW AD LD] Instrukcja obsługi
-
Miele PG 8583 [WW AD LD] Instrukcja instalacji
-
Miele PLW 8615 [EL] Instrukcja obsługi
-
Miele PLW 8615 [EL] Instrukcja instalacji
-
Miele PG 8504 [AD] Instrukcja obsługi
-
Miele PLW 8617 [EL/S TH] Instrukcja obsługi
-
Miele PLW 8617 [EL/S TH] Instrukcja instalacji
-
Miele PLW 8617 [EL/S RT] Instrukcja obsługi