Strona 2 - Spis treści
Spis treści 2 Wskazówki bezpieczeństwa i ostrzeżenia ...................................................... 4 Ochrona środowiska naturalnego ................................................................... 15 Przegląd ..................................................................................
Strona 4 - Wskazówki bezpieczeństwa i ostrzeżenia
Wskazówki bezpieczeństwa i ostrzeżenia 4 Ta płyta grzejna spełnia wymagania obowiązujących przepisówbezpieczeństwa. Nieprawidłowe użytkowanie może jednak dopro-wadzić do wyrządzenia szkód osobowych i rzeczowych. Przed uruchomieniem urządzenia należy uważnie przeczytać in-strukcję użytkowania i monta...
Strona 5 - Użytkowanie zgodne z przeznaczeniem; Ta płyta grzejna jest przeznaczona do stosowania w gospodar-
Wskazówki bezpieczeństwa i ostrzeżenia 5 Użytkowanie zgodne z przeznaczeniem Ta płyta grzejna jest przeznaczona do stosowania w gospodar- stwie domowym i w otoczeniu domowym. Ta płyta grzejna nie jest przeznaczona do stosowania na zewnątrz pomieszczeń. Stosować płytę grzejną wyłącznie w warunk...
Strona 6 - Dzieci w gospodarstwie domowym
Wskazówki bezpieczeństwa i ostrzeżenia 6 Dzieci w gospodarstwie domowym Dzieci poniżej 8 roku życia należy trzymać z daleka od płyty grzej- nej, chyba że są pod stałym nadzorem. Dzieciom powyżej 8 roku życia wolno używać urządzenia bez nad- zoru tylko wtedy, gdy jego obsługa została im objaśnion...
Strona 7 - Bezpieczeństwo techniczne; Uszkodzenia płyty grzejnej mogą być przyczyną zagrożeń. Skon-
Wskazówki bezpieczeństwa i ostrzeżenia 7 Bezpieczeństwo techniczne Nieprawidłowo przeprowadzone prace instalacyjne i konserwacyj- ne lub naprawy mogą się stać przyczyną poważnych zagrożeń dlaużytkownika. Prace instalacyjne i konserwacyjne oraz naprawy mogąbyć przeprowadzane wyłącznie przez fachowc...
Strona 9 - Przy pracach instalacyjnych i konserwacyjnych oraz naprawach
Wskazówki bezpieczeństwa i ostrzeżenia 9 Przy pracach instalacyjnych i konserwacyjnych oraz naprawach urządzenie musi zostać odłączone od sieci elektrycznej. Płyta grzej-na jest odłączona od sieci elektrycznej tylko wtedy, gdy: - bezpieczniki instalacji elektrycznej są wyłączone, - bezpieczniki to...
Strona 10 - Prawidłowe użytkowanie
Wskazówki bezpieczeństwa i ostrzeżenia 10 Prawidłowe użytkowanie Płyta grzejna nagrzewa się podczas pracy i pozostaje gorąca jesz- cze przez jakiś czas po wyłączeniu. Dopiero po zgaśnięciu wskazańciepła resztkowego nie ma więcej niebezpieczeństwa odniesieniaoparzeń. Przedmioty znajdujące się w p...
Strona 11 - Gdy płyta grzejna jest przykryta, w razie przypadkowego włącze-
Wskazówki bezpieczeństwa i ostrzeżenia 11 Gdy płyta grzejna jest przykryta, w razie przypadkowego włącze- nia lub występowania ciepła resztkowego istnieje niebezpieczeń-stwo, że materiał przykrycia może się zapalić, obkurczyć lub stopić.Nigdy nie przykrywać płyty grzejnej, np. pokrywą, ścierką lub...
Strona 13 - W przypadku dłuższego oddziaływania zabrudzeń mogą się one
Wskazówki bezpieczeństwa i ostrzeżenia 13 W przypadku dłuższego oddziaływania zabrudzeń mogą się one przypalić i ich usunięcie może być więcej niemożliwe. Usuwać za-brudzenia tak szybko, jak to możliwe i przy stawianiu naczyń do go-towania uważać, żeby dno naczynia było czyste, wolne od tłuszczui ...
Strona 14 - Czyszczenie i konserwacja; Para z myjki parowej może się dostać na elementy przewodzące
Wskazówki bezpieczeństwa i ostrzeżenia 14 Czyszczenie i konserwacja Para z myjki parowej może się dostać na elementy przewodzące prąd elektryczny i spowodować zwarcie. Nigdy nie stosować myjki parowej do czyszczenia urządzenia. Firma Miele gwarantuje dostępność zapewniających funkcjonal- ność cz...
Strona 15 - Ochrona środowiska naturalnego; Utylizacja opakowania
Ochrona środowiska naturalnego 15 Utylizacja opakowania Opakowanie służy do manewrowaniai chroni urządzenie przed uszkodzenia-mi podczas transportu. Materiały opa-kowaniowe zostały specjalnie dobranepod kątem ochrony środowiska i techni-ki utylizacji i generalnie nadają się doponownego wykorzystania...
Strona 16 - Przegląd; Płyta grzejna; Jednoobwodowa strefa grzejna
Przegląd 16 Płyta grzejna KM 6520 FR, KM 6520 FL a Jednoobwodowa strefa grzejna b Jednoobwodowa strefa grzejna c Dwuobwodowa strefa grzejna d Jednoobwodowa strefa grzejna e Elementy obsługi i wskazań
Strona 17 - Dwuobwodowa strefa grzejna
Przegląd 17 KM 6521 FR a e d a e d b c a Dwuobwodowa strefa grzejna b Jednoobwodowa strefa grzejna c Jednoobwodowa strefa grzejna/strefa na brytfannę d Jednoobwodowa strefa grzejna e Elementy obsługi i wskazań
Strona 21 - Elementy obsługi i wskazań; Przyciski dotykowe
Przegląd 21 Elementy obsługi i wskazań a b c d i h g e f j Przyciski dotykowe a Włączanie/wyłączanie płyty grzejnej b Skala numeryczna- do ustawiania poziomów mocy- do ustawiania czasów c Włączanie dalszych obwodów grzejnych d Stop&GoDo zatrzymywania/uruchamiania bieżącego procesu gotowania e Wy...
Strona 22 - Wskazania/Lampki kontrolne
Przegląd 22 Wskazania/Lampki kontrolne f Wskazania timera do czas w minutach blokada uruchomienia/blokada jest uaktywniona tryb demonstracyjny jest uaktywniony g Przyporządkowanie stref grzejnych do funkcji automatycznego wyłączaniaAutomatyczne wyłączanie dla strefy grzejnej jest uaktywn...
Strona 23 - Dane stref grzejnych; Strefa grzejna
Przegląd 23 Dane stref grzejnych KM 6520 FR, KM 6520 FL Strefa grzejna Ø w cm* Moc w W przy 230 V 18,0 1800 16,0 1500 12,0/21,0 750/2200 14,5 1200 Razem: 6700 KM 6521 FR Strefa grzejna Ø w cm* Moc w W przy 230 V 12,0/21,0 1200/2200 14,5 1200 17,0/17,0x26,5 1500/2400 16,0 1500 Razem...
Strona 25 - Pierwsze uruchomienie
Pierwsze uruchomienie 25 Tabliczkę znamionową, znajdującą sięw dokumentacji urządzenia, należynakleić w przewidzianym do tegomiejscu w rozdziale „Serwis“. Usunąć ewentualną folię ochronnąi naklejki. Pierwsze czyszczenie płytygrzejnej Przed pierwszym użyciem należyprzetrzeć płytę grzejną wilgot...
Strona 26 - Sposób działania
Sposób działania 26 Jednoobwodowe strefy grzejne są wy-posażone w jedną wstęgę grzejną,dwuobwodowe strefy grzejne i strefy nabrytfannę w 2 wstęgi grzejne. W zależ-ności od modelu wstęgi grzejne mogąbyć rozdzielone pierścieniem.Każda strefa grzejna ma zabezpieczenieprzed przegrzaniem (ogranicznik tem...
Strona 27 - Naczynia do gotowania; Najlepiej nadają się
Naczynia do gotowania 27 Najlepiej nadają się metalowe garnki i patelnie z grubym dnem, które na zim-no jest lekko wygięte do wewnątrz. Przypodgrzewaniu dno się uwypukla i stoirówno na strefie grzejnej. Dzięki temuciepło jest przewodzone optymalnie. zimne gorące W mniejszym stopniu nadają się na- cz...
Strona 28 - Wskazówki dotyczące oszczędzania energii; - W miarę możliwości należy gotować
Wskazówki dotyczące oszczędzania energii 28 - Zwrócić uwagę na to, żeby dno garn- ka lub patelni zgadzało się z wielko-ścią strefy grzejnej lub było trochęwiększe. Dzięki temu ciepło nie bę-dzie się niepotrzebnie ulatniać. - W miarę możliwości należy gotować w garnkach i patelniach pod przykry-ciem....
Strona 30 - Obsługa; Zasady obsługi; przy
Obsługa 30 Zasady obsługi Państwa szklano-ceramiczna płytagrzejna jest wyposażona w elektronicz-ne przyciski dotykowe, które reagują nadotyk palca. Ze względów bezpieczeń-stwa przycisk dotykowy wł./wył. przy włączaniu musi być naciskany niecodłużej niż pozostałe przyciski.Każda reakcja przycisków...
Strona 31 - Zagrożenie pożarowe przez prze-; Włączanie płyty grzejnej; Nacisnąć przycisk dotykowy; Ustawianie poziomu mocy
Obsługa 31 Zagrożenie pożarowe przez prze- grzaną potrawę.Nienadzorowana potrawa może sięprzegrzać i zapalić.Nie zostawiać urządzenia w czasiepracy bez nadzoru. Włączanie płyty grzejnej Nacisnąć przycisk dotykowy . Zapalają się pozostałe przyciski dotyko-we. Jeżeli nie zostanie podjęta dalsza ...
Strona 32 - Wskazanie ciepła resztkowego; Niebezpieczeństwo odniesienia
Obsługa 32 Wskazanie ciepła resztkowego Gdy strefa grzejna jest gorąca, po wyłą-czeniu zapala się wskazanie ciepłaresztkowego. Segmenty wskazania ciepła resztkowe-go gasną po kolei wraz z postępującymstygnięciem stref grzejnych. Ostatnisegment gaśnie dopiero wtedy, gdymożna bez ryzyka dotknąć stref ...
Strona 33 - Trójobwodowa strefa grzejna:
Obsługa 33 Włączanie dodatkowych obwo-dów grzejnych Dwuobwodowa strefa grzejna lubjednoobwodowa strefa grzejna/strefana brytfannę: Przy włączaniu zawsze jest automatycz-nie włączany drugi obwód grzejny. Trójobwodowa strefa grzejna: Przy włączaniu zawsze jest automatycz-nie włączany drugi obwód grzej...
Strona 34 - Automatyka zagotowywania; na zmianę z ustawionym
Obsługa 34 Automatyka zagotowywania Przy uaktywnionej automatyce zagoto-wywania strefa grzejna rozgrzewa sięautomatycznie przy najwyższym pozio-mie mocy, a następnie przełącza się zpowrotem na ustawiony wcześniej do-celowy poziom mocy. Czas zagotowy-wania zależy od ustawionego poziomukontynuacji got...
Strona 35 - Minutnik; Ustawianie czasu minutnika
Zegar sterujący (Timer) 35 Płyta grzejna musi być włączona, żebymożna było korzystać z timera. Timer może zostać zastosowany dla2 funkcji: - do ustawiania czasu minutnika, - do automatycznego wyłączania strefy grzejnej. Można korzystać z tych funkcji jedno-cześnie. Można ustawić czas od 1 minuty ( ...
Strona 38 - Funkcje dodatkowe; Aktywacja/Dezaktywacja; Recall; Włączyć z powrotem płytę grzejną.
Funkcje dodatkowe 38 Stop&Go W przypadku aktywacji funkcji Stop&Gopoziom mocy wszystkich włączonychstref grzejnych zostaje zredukowanyna 1.Nie można zmienić poziomów mocystref grzejnych ani ustawień timera, pły-ta grzejna może jedynie zostać wyłą-czona. Czas minutnika, czasy wyłącze-nia i cz...
Strona 39 - Tryb demonstracyjny; Oznaczenie modelu/Numer seryjny
Funkcje dodatkowe 39 Tryb demonstracyjny Ta funkcja umożliwia sprzedawcom pre-zentację płyty grzejnej bez grzania. Aktywacja/dezaktywacja trybu de-monstracyjnego Włączyć płytę grzejną. Na skali numerycznej naciskać rów-nocześnie przyciski dotykowe 0 i 2przez 6 sekund. Na wyświetlaczu zegara ster...
Strona 40 - Zabezpieczenia
Zabezpieczenia 40 Blokada uruchomienia/Bloka-da Państwa płyta grzejna jest wyposażonaw blokadę uruchomienia i blokadę, żebynie można było w sposób niezamierzo-ny włączyć płyty lub stref grzejnych anizmienić ustawień. Blokadę uruchomienia uaktywnia się przy wyłączonej płycie grzejnej. Gdyblokada uruc...
Strona 41 - kowego
Zabezpieczenia 41 Wyłączenie ze względów bez-pieczeństwa W przypadku zakrycia przyciskówdotykowych Państwa płyta grzejna wyłączy się auto-matycznie, gdy jeden lub kilka przycis-ków dotykowych pozostaje zakryte dłu-żej niż ok. 10 sekund, np. przez palec,wykipianą potrawę lub odłożone przed-mioty. W p...
Strona 42 - - Na włączonej strefie grzejnej nie znaj-
Zabezpieczenia 42 Zabezpieczenie przed prze-grzaniem Każda strefa grzejna jest wyposażonaw zabezpieczenie przed przegrzaniem(ogranicznik temperatury wewnętrznej).Wyłącza ono automatycznie grzaniestrefy grzejnej, zanim dojdzie do jejprzegrzania. Gdy tylko strefa grzejnaostygnie, grzanie włącza się au...
Strona 43 - Programowanie; Zmiana programowania
Programowanie 43 Programowanie płyty grzejnej możnadostosować do swoich osobistych pre-ferencji. Można zmodyfikować kilkaustawień po kolei. Po wywołaniu programowania w poluwskazań zegara sterującego pojawia się (program) i (status) oraz 2 wskazania stref grzejnych. Na wskazaniu strefy grzejnej ...
Strona 46 - Informacje dla instytutów testowych
Informacje dla instytutów testowych 46 Potrawy testowe wg EN 60350-2 Fabrycznie zaprogramowane jest 9 poziomów mocy. Do testów zgodnie z normą należy włączyć rozszerzony zakres poziomów mocy(patrz rozdział „Programowanie“). Danie testowe dna naczynia do gotowania (mm) Przykry- cie Poziom mocy rozg...
Strona 48 - Uwaga na uszkodzenia przez
Czyszczenie i konserwacja 48 Czyszczenie powierzchniszklano-ceramicznych Uwaga na uszkodzenia przez ostre przedmioty.Taśma uszczelniająca pomiędzy pły-tą grzejną i blatem roboczym możezostać uszkodzona.Taśma uszczelniająca pomiędzyszkłem ceramicznym i ramką możezostać uszkodzona.Nie stosować do cz...
Strona 50 - Komunikaty w polach wskazań/na wyświetlaczu; Problem
Co robić, gdy... 50 Większość usterek i błędów, do których dochodzi podczas codziennego użytko-wania, można usunąć samodzielnie. W wielu przypadkach pozwoli to zaoszczędzićczas i koszty, ponieważ nie ma wówczas potrzeby wzywania serwisu. Poniższa tabela powinna być pomocna w ustaleniu przyczyn ewent...
Strona 51 - Nieoczekiwane zachowania
Co robić, gdy... 51 Nieoczekiwane zachowania Problem Przyczyna i postępowanie Grzanie strefy grzejnejwłącza się i wyłącza. Takie „taktowanie“ grzania jest normalne. Taktowa-nie jest powodowane przez elektroniczną regulacjęmocy grzania (patrz rozdział „Sposób działania strefgrzejnych“). Taktowanie gr...
Strona 52 - Niezadowalające rezultaty
Co robić, gdy... 52 Niezadowalające rezultaty Problem Przyczyna i postępowanie Przy włączonej automa-tyce zagotowywania za-wartość naczynia dogotowania nie dochodzido wrzenia. Podgrzewane są duże ilości produktów spożyw-czych. Zagotować przy najwyższym poziomie mocy,a następnie przełączyć ręcznie ...
Strona 53 - Problemy ogólne lub usterki techniczne
Co robić, gdy... 53 Problemy ogólne lub usterki techniczne Problem Przyczyna i postępowanie Nie można włączyć pły-ty grzejnej ew. strefgrzejnych. Płyta grzejna nie ma prądu. Sprawdzić, czy doszło do wyzwolenia zabezpie-czenia instalacji elektrycznej. Wezwać elektrykalub serwis Miele (minimalne zab...
Strona 54 - Wyposażenie dodatkowe; Ściereczka mikrofazowa
Wyposażenie dodatkowe 54 Firma Miele oferuje bogaty asortymentwyposażenia dodatkowego dostosowa-nego do Państwa urządzenia, jak rów-nież środki do czyszczenia i pielęgnacji. Te produkty można łatwo zamówić wsklepie internetowym Miele. Można je również nabyć w serwisieMiele (patrz na końcu tej instru...
Strona 55 - Serwis; Kontakt w przypadku wystąpienia usterki; Okres gwarancji wynosi 2 lata.
Serwis 55 Kontakt w przypadku wystąpienia usterki W razie wystąpienia usterek, których nie można usunąć samodzielnie, proszę po-wiadomić np. sprzedawcę Miele lub serwis Miele. Wizytę technika serwisowego Miele można zamówić online na stroniewww.miele.pl w zakładce Serwis. Dane kontaktowe serwisu Mie...
Strona 56 - Instalacja; Wskazówki bezpieczeństwa do zabudowy; Uszkodzenia przez nieprawidłowy montaż.
Instalacja *INSTALLATION* 56 Wskazówki bezpieczeństwa do zabudowy Uszkodzenia przez nieprawidłowy montaż. Płyta grzejna może zostać uszkodzona przez nieprawidłowy montaż.Montaż płyty grzejnej powinien być przeprowadzany wyłącznie przez wykwalifi-kowanego specjalistę. Niebezpieczeństwo porażenia ...
Strona 57 - Odstępy bezpieczeństwa
Instalacja *INSTALLATION* 57 Odstępy bezpieczeństwa Odstęp bezpieczeństwa nad płytągrzejną Pomiędzy płytą grzejną i umieszczonymnad nią wyciągiem kuchennym należyzachować odstęp bezpieczeństwaokreślony przez producenta wyciągu. Gdy nad płytą grzejną zainstalowane sąłatwo zapalne materiały (np. półka...
Strona 58 - z tyłu
Instalacja *INSTALLATION* 58 Odstęp bezpieczeństwa z tyłu/po bo-kach Z założenia płyta grzejna powinna zo-stać zamontowana z dużą ilością miej-sca po prawej i lewej stronie. Z tyłu płyty grzejnej musi być zachowa-ny podany poniżej odstęp minimalny do wysokiej szafki stojącej lub ścianypomieszczen...
Strona 59 - Dno pośrednie
Instalacja *INSTALLATION* 59 Dno pośrednie Montaż dna pośredniego pod płytągrzejną nie jest wymagany, ale jest do-zwolony. Jeśli pod płytą grzejną zostanie zamon-towane dno pośrednie, odstęp pomię-dzy górną krawędzią blatu roboczego igórną krawędzią dna pośredniego musiwynosić przynajmniej 110 mm. D...
Strona 60 - Odstęp bezpieczeństwa do okładziny wnęki
Instalacja *INSTALLATION* 60 Odstęp bezpieczeństwa do okładziny wnęki Jeśli wnęka jest okładzinowana, należy zachować odstęp minimalny pomiędzy wy-cięciem w blacie roboczym i okładziną, ponieważ wysokie temperatury mogą do-prowadzić do zmian materiału okładziny lub nawet jego zniszczenia. W przypadk...
Strona 61 - Zabudowa przylegająca
Instalacja *INSTALLATION* 61 Wskazówki dotyczące zabudo-wy Zabudowa przylegająca Uszczelnienie pomiędzy płytą grzejnąi blatem roboczym Uszkodzenia przez nieprawidło- wy montaż.Płyta grzejna i blat roboczy mogą zo-stać ew. uszkodzone w razie ko-nieczności demontażu, jeśli płyta zo-stanie uszczelnio...
Strona 62 - Zabudowa zlicowana
Instalacja *INSTALLATION* 62 Zabudowa zlicowana Wpasowana w blat płyta grzejna jestprzeznaczona wyłącznie do zabudowyw kamieniu naturalnym (granit, mar-mur), pełnym drewnie i blatach wykła-danych płytkami ceramicznymi. Płytygrzejne oznaczone w rozdziale „Insta-lacja“, punkt „Wymiary do zabudowy –zab...
Strona 63 - Wymiary montażowe – zabudowa przylegająca; Wszystkie wymiary podane są w mm.
Instalacja *INSTALLATION* 63 Wymiary montażowe – zabudowa przylegająca Wszystkie wymiary podane są w mm. KM 6520 FR a Przód b Skrzynka przyłączeniowa z przewodem przyłączeniowymPrzewód przyłączeniowy L = 1440 mm c Wiązka kablowa, L = 1550 mm d Zaciski sprężynowe
Strona 67 - Przygotowanie blatu roboczego
Instalacja *INSTALLATION* 67 Zabudowa przylegająca Przygotowanie blatu roboczego Wykonać wycięcie w blacie robo-czym. Zachować wymagane odstępybezpieczeństwa (patrz rozdział „Insta-lacja“, punkt „Odstępy bezpieczeń-stwa“). W przypadku blatów roboczych z drewna należy zabezpieczyć brzegi wycięcia...
Strona 68 - Przykleić taśmę klejącą
Instalacja *INSTALLATION* 68 Mocowanie zacisków sprężyno-wych – blat roboczy z kamienia natu-ralnego Do zamocowania zacisków sprężyno-wych potrzebna będzie mocna dwu-stronna taśma klejąca (brak w wyposa-żeniu dostarczonym wraz z urządze-niem). Dokładne pozycje zacisków sprężyno-wych są podane na rys...
Strona 69 - Wymiary montażowe – zabudowa zlicowana
Instalacja *INSTALLATION* 69 Wymiary montażowe – zabudowa zlicowana Wszystkie wymiary podane są w mm. KM 6520 FL a Przód b Skrzynka przyłączeniowa z przewodem przyłączeniowymPrzewód przyłączeniowy L = 1440 mm c Frezowanie stopniowe w blacie roboczym z kamienia naturalnego d Listwa drewniana 13 mm (w...
Strona 71 - Sprawdzić działanie płyty grzejnej.
Instalacja *INSTALLATION* 71 Zabudowa zlicowana Wykonać wycięcie w blacie robo-czym. Zachować wymagane odstępybezpieczeństwa (patrz rozdział „Insta-lacja“, punkt „Odstępy bezpieczeń-stwa“). Blaty robocze z pełnego drewna/blatyrobocze wykładane płytkami cera-micznymi/szklane blaty robocze:Zamocow...
Strona 72 - Podłączenie elektryczne; Uszkodzenia przez nieprawidło-
Instalacja *INSTALLATION* 72 Podłączenie elektryczne Uszkodzenia przez nieprawidło- we podłączenie.Nieprawidłowo przeprowadzone pra-ce instalacyjne i konserwacyjne lubnaprawy mogą się stać przyczynąpoważnych zagrożeń dla użytkowni-ka.Firma Miele nie może zostać pocią-gnięta do odpowiedzialności za...
Strona 73 - Niebezpieczeństwo porażenia
Instalacja *INSTALLATION* 73 Odłączanie od sieci Niebezpieczeństwo porażenia prądem.Przywrócenie zasilania podczas pracserwisowych i/lub konserwacyjnychmoże doprowadzić do porażenia prą-dem.Po rozłączeniu należy zabezpieczyćsieć przed ponownym włączeniem. Jeśli obwód elektryczny urządzenia mazosta...
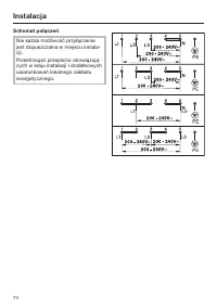
Strona 74 - Schemat połączeń
Instalacja *INSTALLATION* 74 Schemat połączeń Nie każda możliwość przyłączeniajest dopuszczalna w miejscu instala-cji.Przestrzegać przepisów obowiązują-cych w kraju instalacji i dodatkowychuwarunkowań lokalnego zakładuenergetycznego.
Strona 75 - Karty produktów
Karty produktów 75 Poniżej są dołączone karty produktów modeli opisywanych w tej instrukcji użytko-wania i montażu. Informacje dotyczące elektrycznych płyt grzejnych dla gospo-darstw domowych w odniesieniu do rozporządzenia Komisji (UE) nr 66/2014 MIELE Identyfikator modelu KM 6520 Liczba pól lub ob...