Miele Duoflex HX1 - Instrukcja obsługi

Miele Duoflex HX1 – Instrukcja obsługi, czytaj za darmo online w formacie PDF. Mamy nadzieję, że to pomoże rozwiązać wszelkie problemy, które mogą się pojawić. Jeśli masz dodatkowe pytania, skontaktuj się z nami za pomocą formularza kontaktowego.
Spis treści:
- Strona 91 – Ten odkurzacz jest przeznaczony do stosowania w go-
- Strona 95 – pl - Wskazówki bezpieczeństwa i ostrzeżenia
- Strona 96 – Dzieci w gospodarstwie domowym
- Strona 97 – Możliwa jest czasowa lub stała praca na autonomicznym
- Strona 98 – W żadnym wypadku nie używać dalej akumulatora AP10/
- Strona 99 – Prawidłowe użytkowanie; Chronić akumulator AP10/AP11 przed upadkiem i nim nie
- Strona 100 – Nigdy nie zanurzać odkurzacza ani elementów wyposa-
- Strona 101 – Stosować wyłącznie elementy wyposażenia z logo Miele; Transport; Opakowanie chroni odkurzacz przed uszkodzeniami pod-
- Strona 104 – pl - Odpowiedzialność i ochrona środowiska naturalnego; Utylizacja opakowania
- Strona 113 – Pielęgnacja odkurzacza i akcesoriów
- Strona 114 – Usuwanie problemów; Problem
- Strona 117 – Serwis; Gwarancja; Wyposażenie dodatkowe; Dostępność elementów wyposażenia
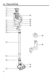
cs
Návod k obsluze Akumulátorový vysavač
el
Οδηγίες χρήσης Επαναφορτιζόμενη ηλεκτρική σκούπα
hu
Használati útmutató Akkumulátoros porszívók
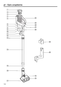
pl
Instrukcja użytkowania Odkurzacz akumulatorowy
sk
Návod na použitie Akumulátorový vysávač
tr
Kullanım kılavuzu Akülü elektrikli süpürge
M.-Nr. 12 382 041
HS23
"Ładowanie instrukcji" oznacza, że należy poczekać, aż plik się załaduje i będzie można go czytać online. Niektóre instrukcje są bardzo obszerne, a czas ich ładowania zależy od prędkości Twojego internetu.
Podsumowanie
pl - Wskazówki bezpieczeństwa i ostrzeżenia 91 Ten odkurzacz spełnia wymagania obowiązujących prze-pisów bezpieczeństwa. Nieprawidłowe użytkowanie mo-że doprowadzić do wyrządzenia szkód osobowych i rze-czowych.Przed pierwszym użyciem odkurzacza należy przeczytaćinstrukcję użytkowania. Zawiera ona wa...
pl - Wskazówki bezpieczeństwa i ostrzeżenia 95 Chronić odkurzacz przed kontaktem z otwartym ogniem lub innym źródłem ciepła. Nie rozgrzewać odkurzacza. Nienarażać odkurzacza na bezpośrednie nasłonecznienie. Nie zasysać rozżarzonych lub płonących przedmiotów, jak np. niedopałków lub pozornie wyga...
pl - Wskazówki bezpieczeństwa i ostrzeżenia 96 Wskazówki bezpieczeństwa i ostrzeżenia dla akumulato-ra AP10/AP11, ładowarki LG02, uchwytu ściennego Spe-edLock LS10 (w zależności od modelu) Dzieci w gospodarstwie domowym Osoby (w tym dzieci), które ze względu na upośledzenie psychiczne, umysłowe lu...