Strona 3 - olski; Spis treści
177 P olski PL Spis treści 1 Ważne 179 Ważne informacje dotyczące bezpieczeństwa 179 Ochrona słuchu 180 Uwaga 181 Informacje o znakach towarowych 184 2 Przenośny odtwarzacz płyt Blu-ray 186 Zawar tość opakowania 186 Opis urządzenia 187 Opis pilota zdalnego sterowania 189 3 Czynności wstępne 191 Przy...
Strona 4 - ażne; ażne inf
178 179 1 W ażne W ażne inf ormacje dotyczące bezpieczeństwa a Pr ze c z y taj t ę inst ruk cję. b Z ac h ow aj t ę i n st ru kc ję n a p rz ys zł o ść . c R o zw aż w szy st k ie o st rz e że n ia . d P o st ęp u j zg o d n ie z e w sz ys tki m i i n st ru k cj am i. e N ie ko rz ys ta j z u rz ąd ...
Strona 6 - Recykling
182 183 O p ro gr am o w anie o ot w ar ty m k o dzie ź ród ło w y m P h ili p s E le c tr o n ic s H o n g Ko n g L td . n in ie js zy m of e ru je d o st ar cz e n ie , n a ż yc ze n ie , k o p ii k o m p le tn e go o d p o w ie d n ie go k o d u ź ró d ło w e go w p rz yp ad ku p ak ie tó w o p r...
Strona 8 - Za
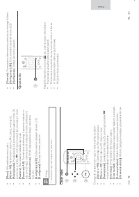
186 187 2 Przenośn y odtwarzacz płyt Blu- ra y Gr atulujem y zakupu i witam y wśród klientów fir m y Philips! Ab y w pełni sk orzystać z obsługi świadcz onej prz ez fir mę Philips, należy zarejestro wać zakupion y produkt na stronie www .philips.com/w elcome . Za war tość opak o wania P o otwarciu opa...
Strona 11 - Użycie prze
192 193 Szybkie łado wanie akum ulatora. 1 Pr zesu ń pr ze łą cz nik OFF •PO WER •ON w p o zy cj ę OFF . 2 P o d łą cz z a si la cz ( d o łą czo ny d o u rz ąd ze n ia ) d o : gni a zd a • DC I N o d twar za cz a , gni a zd k a ele k tr yc zneg o . • W łą cz y s ię w sk a źn ik • CHR ( cze rw o n y)...
Strona 13 - Odtwarzanie płyty
196 197 Ws k a źn ik • w ył ąc zy s ię . Uwaga Je śl i n ie z a m ie rz a sz k o rz ys ta ć z o d tw a rz ac za p rz e z d łu żs zy c za s, p rz e su ń p rz e łą c zn ik • OFF •PO WER •ON d o p o zy cj i OFF , a b y u n ik n ą ć r o zł ad o w a n ia b at e ri i. Odtwarzanie płyty Przestr oga N ie b ...
Strona 14 - Opcje wideo
198 199 P odsta w o w e funkcje ster o wania odtwarzaniem Ster uj odtwarzaniem zgodnie z za war tymi tutaj instr ukcjami. Pr z ycisk Cz ynność Ro zpoc zy na nie lub ws tr zy m y w an ie od tw ar za nia . W str zy m y wan ie o d twar za n ia . W ie lo k ro tn e n ac is k an ie s p o w o d u je o d tw...
Strona 16 - Film; orzystanie z funkcji Bon
202 203 5 K orzystanie z przenośneg o odtwarzacza płyt Blu-ra y Film y DivX Film y DivX można odtwarzać z płyty lub z urządz enia pamięci maso w ej USB . K od V OD DivX Prz ed zakupem filmów w f o rmacie DivX i rozpoczęciem odtwarzania ich na tym urządz eniu należy na stronie www .divx.com zarejestro...
Strona 17 - Funkcja Philips EasyLink
204 205 p o rt u L A N w r o u te rze p o d łą cz o n ym d o I n te rn e tu . • 2 S konfigur uj po łą cz e n ie z siec ią . 1 ) N aci śn ij p rz ycis k i w yb ie rz o p cj ę [K onfigur acj a] . 2 ) Wy bie rz k o lejno [Ust aw ie n ia s iec i] > [I nst al acj a sie ci] . 3 ) P o st ę p u j w e d łu ...
Strona 20 - Opcje zaa; Ekran LCD
210 211 [W ygaszacz ekran u] : Włączanie lub wyłączanie funkcji wygaszacza. Jeśli opcja ta jest włącz ona, wygaszacz z ostaje włącz on y po 10 min utach br aku aktywności (np . w tr ybie wstrzymania lub gdy odtwarzanie jest zatrzymane). [Zmień hasło] : Usta wianie hasła umożliwiającego odtwarzanie p...
Strona 24 - Nie można uzyskać dostępu do serwisu BD-Live.
218 Nie można odczytać zawartości podłączonego urządzenia pamięci masowej USB. Spr awdź, cz y for mat danych w ur ządzeniu pamięci masowej USB jest • zgodny z odtwar zaczem.Spr awdź, cz y system plików w ur ządzeniu pamięci masowej USB jest • obs ługiwany pr zez odtwar zacz.W pr z ypadku pr zenośneg...