Dell Latitude E4200- Instrukcja obsługi

Dell Latitude E4200

Dell Latitude E4200– Instrukcja obsługi, czytaj za darmo online w formacie PDF. Mamy nadzieję, że to pomoże rozwiązać wszelkie problemy, które mogą się pojawić. Jeśli masz dodatkowe pytania, skontaktuj się z nami za pomocą formularza kontaktowego.

1 Strona 1
2 Strona 2
3 Strona 3
4 Strona 4
5 Strona 5
6 Strona 6
7 Strona 7
8 Strona 8
9 Strona 9
10 Strona 10
11 Strona 11
12 Strona 12
13 Strona 13
14 Strona 14
15 Strona 15
16 Strona 16
17 Strona 17
18 Strona 18
19 Strona 19
20 Strona 20
21 Strona 21
22 Strona 22
23 Strona 23
24 Strona 24
25 Strona 25
26 Strona 26
27 Strona 27
28 Strona 28
29 Strona 29
30 Strona 30
31 Strona 31
32 Strona 32
33 Strona 33
34 Strona 34
35 Strona 35
36 Strona 36
37 Strona 37
38 Strona 38
39 Strona 39
40 Strona 40
41 Strona 41
42 Strona 42
43 Strona 43
44 Strona 44
Strona: / 44

Spis treści:

  • Strona 15 – Uwagi, ostrzeżenia i przestrogi
  • Strona 16 – Widok z góry
  • Strona 18 – Dokowanie komputera do stacji bazowej
  • Strona 20 – Usuwanie napędu ze stacji bazowej
  • Strona 21 – Wymiana napędu w stacji bazowej
  • Strona 22 – Dane techniczne
Ładowanie instrukcji

"Ładowanie instrukcji" oznacza, że należy poczekać, aż plik się załaduje i będzie można go czytać online. Niektóre instrukcje są bardzo obszerne, a czas ich ładowania zależy od prędkości Twojego internetu.

Podsumowanie

Strona 15 - Uwagi, ostrzeżenia i przestrogi

Uwagi, ostrzeżenia i przestrogi UWAGA: UWAGA oznacza ważną wiadomość, która pomoże lepiej wykorzystać komputer. OSTRZEŻENIE: OSTRZEŻENIE wskazuje na możliwość uszkodzenia sprzętu lub utraty danych i informuje o sposobie uniknięcia problemu. PRZESTROGA: PRZESTROGA informuje o sytuacjach, w których wy...

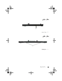
Strona 16 - Widok z góry

Stacja bazowa 55 Stacja bazowa Stacja bazowa zwiększa możliwości komputera Dell™ Latitude™ E4200 dotyczące nośników. Stacja bazowa jest mocowana do dolnej części komputera. Widok z góry 1 złącze dokowania 2 zatrzaski zwalniające (2) 3 dźwignia zwalniająca 4 zaczepy mocujące 1 4 2 3 book.book Page 55...

Strona 18 - Dokowanie komputera do stacji bazowej

Stacja bazowa 57 Dokowanie komputera do stacji bazowej 1 Przed wstępnym dokowaniem komputera musi zostać zakończony proces instalacji systemu operacyjnego. Aby sprawdzić, czy system operacyjny jest zainstalowany: a Upewnij się, że komputer nie jest podłączony do stacji bazowej. b Włącz komputer. c S...

Inne modele Dell

Wszystkie inne Dell