Strona 5 - ka na drzwi
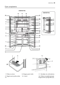
                                                                            Opis urz ą dzenia 23 12 11 12 23 13 1 15 16 1719 18 23 2021 6 7 22 8 9 121 34 5 6 7 22 89 10 14 13 14 16 19 15 EQE6307SA EQE5807SA A B 19 A B 1. Pó ł ka na drzwi 9. Regulowane nó ż ki 17. Szuflada do sch ł odzenia 2. Regulowana pó ł ka szkla- na 10. Cokó ł 18. Pó ł ka na butelki (prawa). Regulowana ...
                                                                     
                                                                                            
                                    Strona 6 - Panel sterowania; Ustawienie domy; łą
                                                                            3. Sta ł a pó ł ka szklana 11. Panel aluminiowy 19. Kostkarka do lodu "Twistand serve". D ź wignia (A), po- jemnik na kostki lodu (B). 4. Pó ł ka na butelki (lewa) 12. O ś wietlenie ch ł odziarki (4 ż arówki x 15 W) 20. Pojemnik na kostki lodu 5. Szuflada na owoce i wa-rzywa 13. Pokrywa pó ł...
                                                                     
                                                                                            
                                    Strona 10 - Codzienna eksploatacja; Wa; Nabia; ść; Mi; ęś
                                                                            Codzienna eksploatacja Wa ż ne! niniejsze urz ą dzenie jest sprzedawane we FrancjiZgodnie z prawem tego kraju w dolnej szu-fladzie ch ł odziarki powinno znajdowa ć si ę specjalne urz ą dzenie (patrz rysunek), które wskazuje jej najch ł odniejsz ą stref ę . Ch ł odzenie zmniejsza szybko ść psucia si ...
                                                                     
                                                                                            
                                    Strona 11 - Konserwacja i czyszczenie; Odszranianie
                                                                            Optymalne zamra ż anie • Artyku ł y powinny by ć ś wie ż e. • Aby umo ż liwi ć szybkie zamro ż enie, nale ż y jednorazowo zamra ż a ć niewielkie ilo ś ci ar- tyku ł ów. • Artyku ł y spo ż ywcze nale ż y przechowywa ć w pojemnikach lub woreczkach do zamra- ż ania. Nale ż y w miar ę mo ż liwo ś ci usu...
                                                                     
                                                                                            
                                    Strona 12 - Co zrobi
                                                                            • Pojemnik na skopliny nie wymaga czy- szczenia ani konserwacji. Co zrobi ć , gdy… W razie podejrzenia, ż e ch ł odziarka nie dzia ł a prawid ł owo, przed skontaktowaniem si ę z serwisem mo ż na samodzielnie dokona ć kil- ku sprawdze ń . Mo ż na zidentyfikowa ć prob- lem i go zlikwidowa ć samodzieln...
                                                                     
                                                                                            
                                    Strona 14 - Dane techniczne; Instalacja
                                                                            Awaria Mo ż liwa przyczyna / Rozwi ą zanie Je ś li zamra ż arka jest bardzo oszroniona Sprawdzi ć , czy drzwi ch ł odziarki i zamra ż arki s ą prawid ł owo zamykane. Je ś li drzwi b ę d ą pozosta- wiane niedomkni ę te, we wn ę trzu zamra ż arki po- jawi si ę gruba warstwa szronu. Je ś li pojawi si ę...
                                                                     
                                                                                            
                                    Strona 15 - Instalacja urz
                                                                            oraz cz ę stotliwo ść podane na tabliczce zna- mionowej odpowiadaj ą parametrom domo- wej instalacji zasilaj ą cej. Urz ą dzenie musi by ć uziemione. Wtyczka przewodu zasilaj ą cego do łą czonego do urz ą dzenia posiada styk uziemiaj ą cy . Je ś li gniazdko zasilania nie jest uziemione, urz ą - dzen...
                                                                     
                                                                                            
                                    Strona 17 - ęść
                                                                            890mm 685mm 13mm 1120mm 817.5mm 90° Odst ę py Zalecane odst ę py minimalne. 102mm 90mm Zalecana wolna przestrze ń . 60mm 60mm 60mm Recommended airspace CABINET DOORS Drzwi zosta ł y zaprojektowane w taki sposób, ż e wystaj ą poza obr ę b urz ą dzenia (nie s ą wpuszczane).Je ś li urz ą dzenie jest um...