Strona 7 - Polski; Wskazówki bezpieczeństwa
                                                                            Polski | 7 Bosch Power Tools 1 609 92A 0K2 | (4.8.14) Polski Wskazówki bezpieczeństwa Aby móc efektywnie i bezpiecznie pracować przy użyciu urządzenia pomiarowego, należy przeczytać wszystkie wskazówki i stosować się do nich. Należy dbać o czytelność tabliczek ostrzegawczych, znajdujących się na ele...
                                                                     
                                                                                            
                                    Strona 8 - Opis urządzenia i jego zastosowania; Użycie zgodne z przeznaczeniem
                                                                            8 | Polski 1 609 92A 0K2 | (4.8.14) Bosch Power Tools Opis urządzenia i jego zastosowania Użycie zgodne z przeznaczeniem Urządzenie pomiarowe przeznaczone jest do pomiaru odległości, długości, wy-sokości, odstępów, a także do obliczania powierzchni i kubatury. Urządzenie pomiarowe nadaje się do zast...
                                                                     
                                                                                            
                                    Strona 9 - Dane techniczne; Montaż; Wkładanie/wymiana baterii
                                                                            Polski | 9 Bosch Power Tools 1 609 92A 0K2 | (4.8.14) Dane techniczne Montaż Wkładanie/wymiana baterii Zaleca się eksploatację urządzenia pomiarowego przy użyciu baterii alkaliczno-manganowych lub akumulatorów. Z akumulatorami 1,2 V można dokonać mniejszą ilość pomiarów niż przy zasto-sowaniu bateri...
                                                                     
                                                                                            
                                    Strona 10 - Praca urządzenia; Włączenie
                                                                            10 | Polski 1 609 92A 0K2 | (4.8.14) Bosch Power Tools Baterie lub akumulatory należy zawsze wymieniać kompletami. Należy stoso-wać tylko baterie lub akumulatory pochodzące od tego samego producenta i o jednakowej pojemności.  Jeżeli urządzenie pomiarowe nie będzie przez dłuższy czas używane, należ...
                                                                     
                                                                                            
                                    Strona 11 - Funkcje pomiaru
                                                                            Polski | 11 Bosch Power Tools 1 609 92A 0K2 | (4.8.14) W trybie pracy „pomiar ciągły“ pomiar rozpoczyna się już po pierwszym naciś-nięciu przycisku pomiaru 12 . Wartość mierzona ukaże się w przeciągu 0,5 do 4 sek. Czas trwania pomiaru za-leży od mierzonej odległości, od warunków świetlnych i refleks...
                                                                     
                                                                                            
                                    Strona 12 - Funkcje pamięci
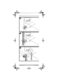
                                                                            12 | Polski 1 609 92A 0K2 | (4.8.14) Bosch Power Tools Pośredni pomiar odległości (zob. rys. D) Pośredni pomiar odległości służy do pomiaru odległości, w sytuacjach, kiedy nie są możliwe pomiary bezpośrednie, ponieważ bieg promienia zakłócony jest przez jakąś przeszkodę, lub ponieważ do dyspozyji ni...
                                                                     
                                                                                            
                                    Strona 13 - Wskazówki dotyczące pracy
                                                                            Polski | 13 Bosch Power Tools 1 609 92A 0K2 | (4.8.14) Zapamiętywanie/dodawanie wartości mierzonych Dodawanie poszczególnych pomiarów – odległości, powierzchni lub objętości (w zależności od aktualnie ustawionej funkcji pomiaru) – do pamięci, odbywa się przez naciśnięcie przycisku dodawania wartości...
                                                                     
                                                                                            
                                    Strona 14 - Błędy – przyczyny i usuwanie
                                                                            14 | Polski 1 609 92A 0K2 | (4.8.14) Bosch Power Tools Wpływy na wynik pomiaru W wyniku uwarunkowanych fizycznie efektów nie można wykluczyć, że wyniki pomiaru niektórych obiektów docelowych mogą się okazać błędne. Do nich należą: – przezroczyste obiekty docelowe (np. szkło, woda),– powierzchnie lus...
                                                                     
                                                                                            
                                    Strona 15 - Konserwacja i serwis; Konserwacja i czyszczenie
                                                                            Polski | 15 Bosch Power Tools 1 609 92A 0K2 | (4.8.14) Urządzenie pomiarowe samo kontroluje prawidłowe funkcjonowanie podczas każdego z pomiarów. Gdy stwier-dzony zostanie defekt, na wyświetlaczu widoczny jest tylko migający symbol, odzwierciedlony obok. W tym przypadku, lub, gdy żaden z wyżej wymie...
                                                                     
                                                                                            
                                    Strona 16 - Obsługa klienta oraz doradztwo dotyczące użytkowania; Usuwanie odpadów
                                                                            16 | Polski 1 609 92A 0K2 | (4.8.14) Bosch Power Tools Jeśli urządzenie pomiarowe, mimo starannych metod produkcji i kontroli ule-głoby awarii, naprawę powinien przeprowadzić autoryzowany serwis elektrona-rzędzi firmy Bosch. Nie wolno samemu otwierać urządzenia pomiarowego. Przy wszystkich zapytania...