Strona 2 - PL; CI
                                                                            PL 11 11 Instrukcja Obslugi SPIS TRE Ś CI UWAGI I SUGESTIE.............................................................................................................................................................67 WŁA Ś CIWO Ś CI TECHNICZNE...........................................................
                                                                     
                                                                                            
                                    Strona 3 - UWAGI I SUGESTIE; MONTA; YTKOWANIE
                                                                            PL 67 67 UWAGI I SUGESTIE Niniejsza instrukcja obsługi została przygotowana dla ró ż nych wersji urz ą dzenia. Mo ż liwe jest, ż e niektóre ilustracje nie odzwierciedlaj ą do- kładnie waszego urz ą dzenia. MONTA Ż • Producent nie ponosi ż adnej odpowiedzialno ś ci za szkody spowodowane nieprawidłowy...
                                                                     
                                                                                            
                                    Strona 4 - WŁA; ęś
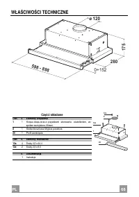
                                                                            PL 68 68 WŁA Ś CIWO Ś CI TECHNICZNE 0÷152 280 598 - 898 175 ø 120 Cz ęś ci składowe Odn. Il. Elementy urz ą dzenia 1 1 Korpus okapu wraz z: przyciskami sterowania, o ś wietleniem, ze- społem wentylatora, filtrami. 8 1 Kratka kierunkowa Wyj ś cie powietrza 20 1 Profil zamkni ę cia Odn. Il. Elementy m...
                                                                     
                                                                                            
                                    Strona 5 - INSTALACJA; Wiercenie i monta
                                                                            PL 69 69 INSTALACJA Wiercenie i monta ż okapu MONTA Ż NA Ś RUBACH • Powierzchnia monta ż u okapu powinna znajdowa ć si ę o 135 wy ż ej od pozostałych mebli. • Przy pomocy znajduj ą cego si ę w zestawie wzornika, wywier- ci ć otwory ø 4,5 mm. • Przy pomocy znajduj ą cego si ę w zestawie wzornika, wyk...
                                                                     
                                                                                            
                                    Strona 6 - Podł; WYLOT POWIETRZA WERSJA Z WYCI; PODŁ
                                                                            PL 70 70 Podł ą czenia WYLOT POWIETRZA WERSJA Z WYCI Ą GIEM Aby zainstalowa ć okap w wersji z wyci ą giem, nale ż y go podł ą czy ć do rury wylotowej za pomoc ą sztywnej lub gi ę tkiej rury ø 120 mm, wyboru rury dokonuje monter. • Zamocuj rur ę odpowiednimi opaskami. Konieczne materiały nie znajduj ...
                                                                     
                                                                                            
                                    Strona 7 - Tablica sterownicza; L O
                                                                            PL 71 71 U Ż YTKOWANIE Tablica sterownicza L O ś wietlenie Wł ą czanie i wył ą czanie o ś wietlenia. M Silnik Wł ą czanie i wył ą czanie silnika zasysania. V Pr ę dko ść Regulacja pr ę dko ś ci: 1. Pr ę dko ść minimalna, przystosowana do ci ą głej i cichej wymiany powietrza, dla małej ilo ś ci zapac...
                                                                     
                                                                                            
                                    Strona 8 - KONSERWACJA; Filtry tłuszczowe; Filtr w; WYMIANA FILTRA W; wietlenie; WYMIANA
                                                                            PL 72 72 KONSERWACJA Filtry tłuszczowe CZYSZCZENIE KASETOWYCH METALOWYCH FILTRÓW TŁUSZCZOWYCH • Filtry nale ż y czy ś ci ć co 2 miesi ą ce u ż ytkowania, b ą d ź cz ęś ciej w przy- padku intensywnego u ż ywania. Mo ż liwe jest czyszczenie ich w zmy- warce. • Wysun ąć szuflad ę okapu. • Filtry nale ż...